Specifications
Order Number: A2L01-WT
| model |
|---|
|
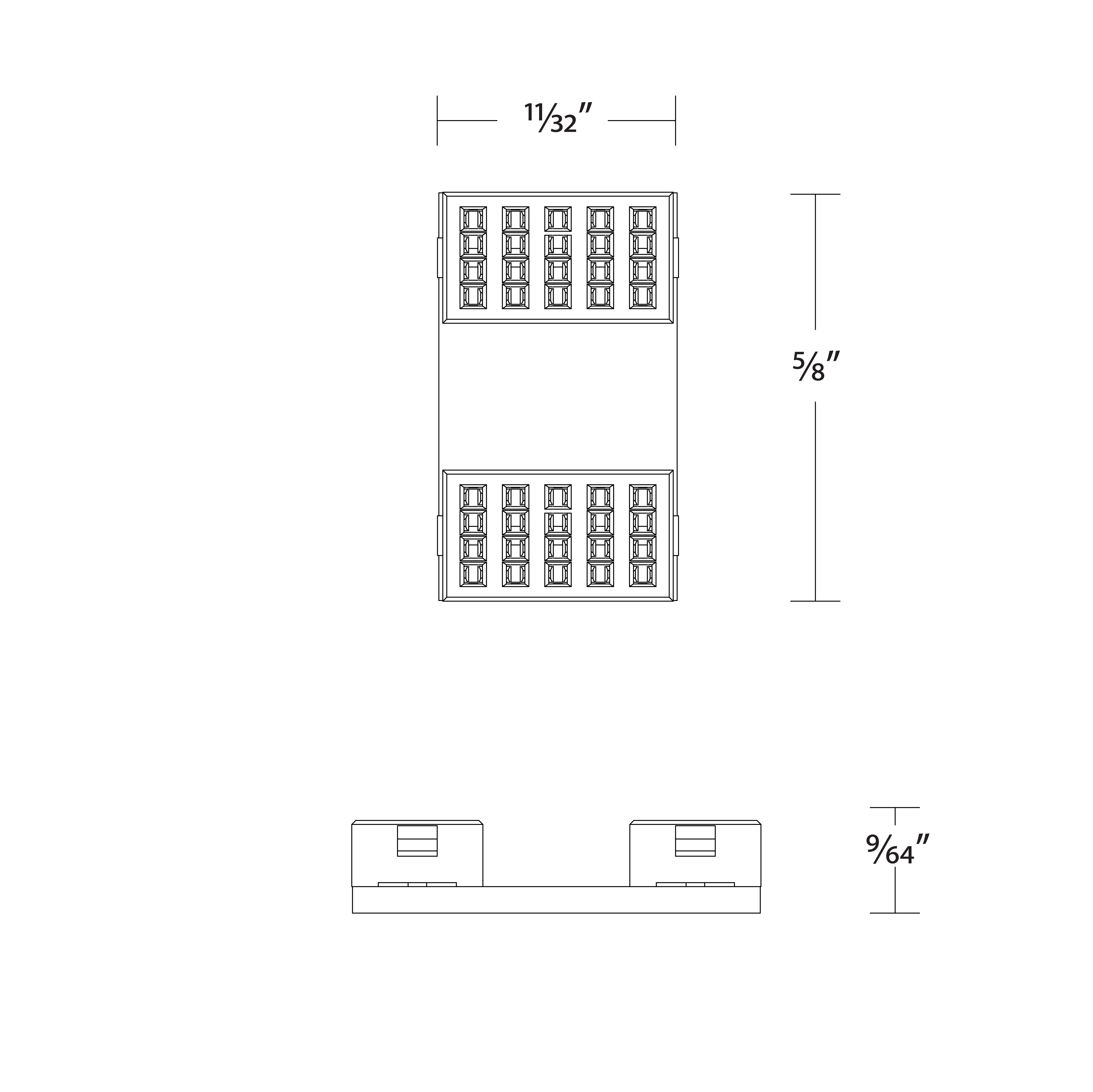
A2L01 - JOINER CABLE EXTENDER
|
Components
Accessories
LINE DRAWING
- FEATURES
- CERTIFICATIONS
- Connects joiner cable to joiner cable, female on both sides


