Specifications
Order Number: A2L14-002-WT
| model |
|---|
|
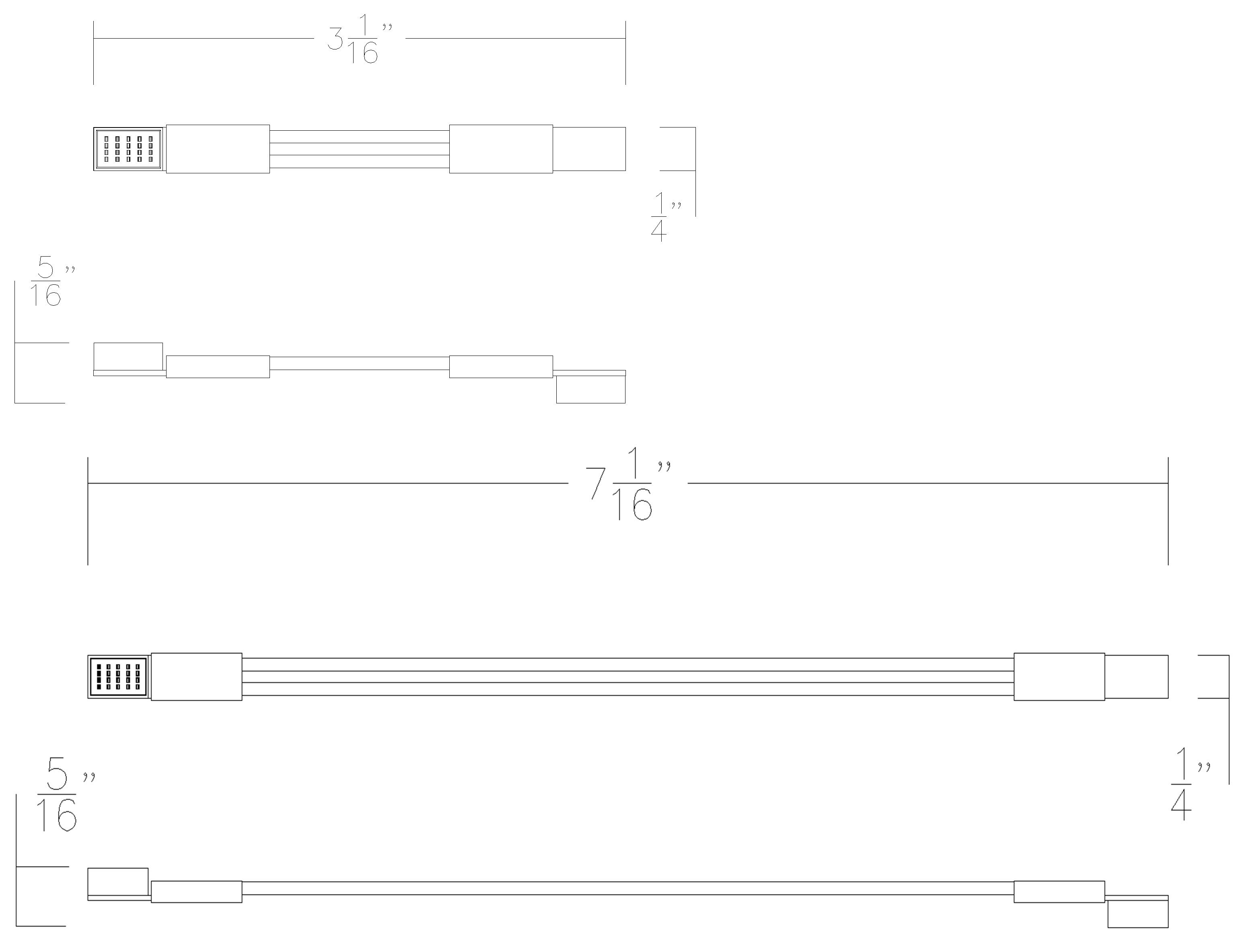
A2L14-002-WT - Joiner Cable
A2L14-006-WT - Joiner Cable
|
Components
Accessories
LINE DRAWING
- FEATURES
- CERTIFICATIONS
- Connects tape/Pixels light sheet sections


